客服电话:4006-110-166
您好!欢迎您来访,请 登录注册
请问需要什么帮助?

智慧云码系统介绍(视频)

智慧云码系统后台操作(图文)

智慧云码系统后台操作(视频)

智慧名片(图文)

           智慧名片操作指引

一、关于智慧名片系统功能介绍

智享Al智能名片系统,是一款智能获客,自动化营销的Al名片,强大的Al雷达支持,基于客户大数据分析,帮助企业精准获客解决营销难、销售难在线沟通,社交化的营销理念,拓展客户关系,依托微信小程序的开发,微信全国10亿以上用户,帮助客户全面提升业绩。

亮点功能如下所示
1、可视化在线编辑设计;共有19个强大的功能组件让你快速装修DIY搭建

自己的营销名片,同时支持PC电脑WEB端、H5移动端+小程序端

2、全面升级为福牛支付系统;名片只需要在微信一键授权福牛支付,无论是个人或是企业名片都可以支持在线支付、在线收款的功能
3、福袋营销拓客更简单;福袋做任务领现金,不用提现,直接领到微信零钱,拓展新客户,维护老顾客的营销神器。


二、关于进入后台界面的具体操作设置步骤
第一步:如何找到智慧名片功能,并设置基本信息框架内容等

  • 首先登录智慧云码系统,找到已开通产品,点击智慧名片便可进入搭建设置添加界面,如下图所示:
  • 第二种进入智慧名片的方式,点击二维码常用工具,并找到微名片管理,可直接进入名片操作端,操作如下图:

    2、进入到名片首页,能够看到个人名片数量,企业名片数量,渠道总数,以及收入总额。如下图所示:

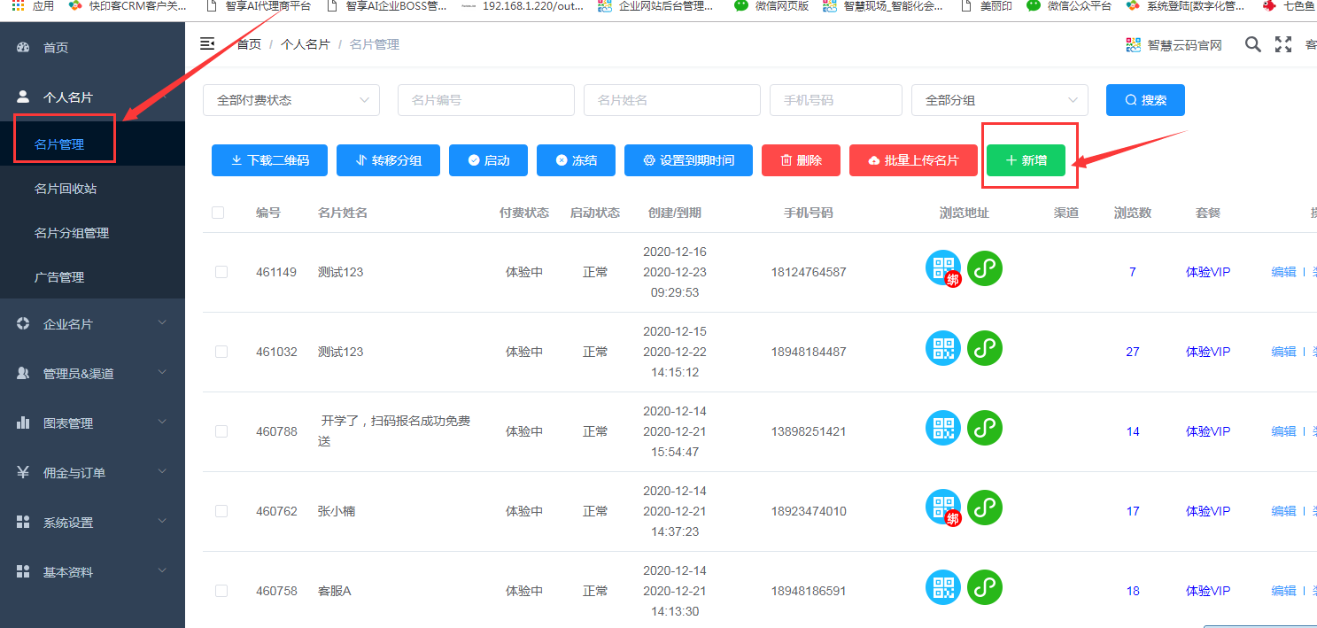
    3、点击个人名片下面的名片管理,可看到对应搜索、下载二维码、启动/冻结名片、设置名片套餐、删除、批量上传名片、新增名片操作等按钮,对应点击后就可以编辑添加制作名片了!如下图所示:

  • 4 点击名片管理,点击新增便可设置新制作名片了,如下图所示:

    5、点击新增进来个人名片首页界面可看到基本信息的完善填写,如实按照自身实际情况对应输入即可,带星号键*为必填项;其他内容信息不是便可选填或是不填,高级信息点击后相关信息界面的填写亦是如此,最后点击确定保存即可;如下图所示:

注:设置输入口令密码时,该信息同时是作为手机端进入名片管理中心口令密码,请谨慎认真填写

    点击进入名片管理需要输入口令,如图:

 

 




 

 

 

图为:设置分享简介后手机前端显示效果
6、名片新增添加完基本信息后返回该页面即可看到对应如下界面,便可设置选择对应按钮进行操作,如下图所示:

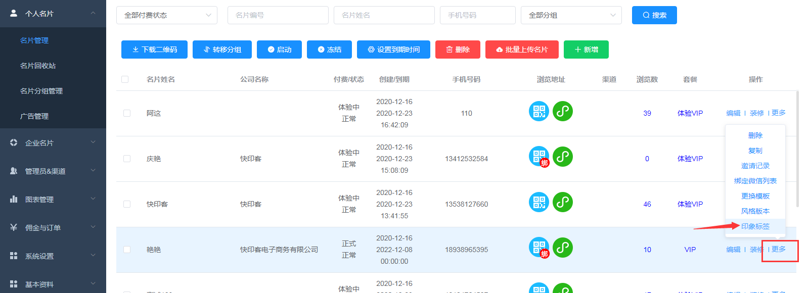
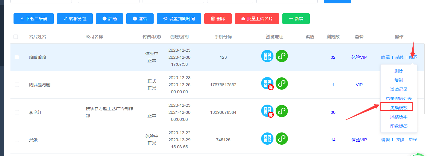
7、名片管理界面点击名片记录后,具体每个操作下面的更多,操作说明如下

7.1、删除按钮有需便可删除,一般不建议随意删除,虽然后有名片回收站可对应恢复;如下图所示:

 

7.2、复制按钮则是点击后多一条一样的副本记录;如下图所示:

 

7.3、邀请记录点击后是基于,一旦有用户透过您的名片注册创建后,就可以从这个位置看到;如下图所示:

 

7.4、绑定微信列表则是对应输入口令密码后成为名片主的微信记录信息在此查看,如下所示:

7.5、点击更换模板则可根据自身所需选择合适的行业风格分类,套用编辑成自己信息内容;如下图所示:



7.6、点击更多下面的风格版本,会出现如下界面可对应操作设置,如下图所示:

7.7、点击更多下的印象标签,则可设置针对该名片第一印象褒奖说明以及初始点赞数等设置均可,如下图所示:

 

8,微名片的分组如何设置?

点击个人名片,左边板块找到名片分组管理,点击新增分组,如下图所示

 

9微名片底部广告位在哪里添加?

点击个人名片,左边板块找到广告管理,点击新增广告,如下图所示 

步:关于如何装修智慧名片完善更多丰富内容

1.首先点击操作下面的装修按钮,进入到名片组件搭建页面  如下图所示





2、关于设置链接按钮解析,如下图所示:


3、所有内容页面编辑好后,最后一步一定点击保存 如下图所示:

4、后期需要再次修改名片内容,亦可点击名片列表里的编辑或是装修操作进行修改即可注意:码不变内容可以随时更新
  
5、关于为什么在名片组件添加了全景、产品列表,内容列表组件,都无法编辑内容,那要在哪里上传?如下图解析所示:

5.5.1、在名片列表找到编辑,进入找到全景(产品、新闻添加方式也按照以下路径添加)添加分解全景图,如下图所示:


注:一般来说,全景设备分为两种:

①一体化全景相机
②单反+鱼眼镜头+云台+三脚架:这4个设备必须要配套,您可以去实体店或者在淘宝网上购买。如果您已经有了单反相机,那么建议您在购买鱼眼镜头、云台、三角架的时候,把相机型号、其他参数告知相应的客服,让他们选择配套的设备给您。
可找对接客服发送相关全景拍摄视频以及分解软件包

 

 

6、关于名片编辑进去可修改基本资料以及栏目内容,如下所示:
该图为:编辑页面

该图为:装修页面

7、关于在装修页面添加了标签组件,只能选择样式而不能编辑标签内容时,则需要先在名片列表,找到该名片操作栏的更多下面的编辑标签内容去搭建,如下图所示:




8、关于添加产品选择在线支付类型提交时,提示需要修授权福牛才能支付的设置步骤,如下所示:

8.8.1、每个名片都需要商家在名片手机端-工作台,申请福牛支付,审核通过后-后台产品管理-授权福牛支付,产品类型才可设置在线支付,实现线上付款功能。如下图所示:

注:具体福牛支付流程文档,可联系对接客服老师协助申请开通福牛支付商户

9、关于如何设置的站外链接如何来进行跳转页面?因为微名片不支持二维码下方短链接做跳转链接,只支持长链接做页面跳转,步骤如下图所示:
该图为:不支持的界面情况

9.9.1、可采用如下2种方式进行具体设置可跳转外链:微信扫码复制链接+电脑复制二维码下方短链接在网页浏览器打开后复制名片页面网址链接。如下所示:
该图为:手机复制复制链接流程

该图为:电脑端复制名片网页链接流程:


10、关于输入口令号成为了名片主后为什么名片底部找不到名片管理中心的步骤:首先手机端名片首页-页面右上角-点击名片夹-进入管理中心,最后进入到工作台,如下图所示:
 

11、关于更换了其他的模板,内容不见了,如何设置恢复原先的模板内容:需要在名片列表里面找到这个风格模板切换回去即可(提示一旦切换模板内容会被覆盖,谨慎更换模板)如下图所示:

 

12、关于新增名片栏目的添加正确操作步骤,按照下图操作提交就能正常显示,如下图所示:


13、关于新增了微名片栏目,需要设置搭建内容位置的链接步骤:首先点击名片管理,点击装修里找到页面组件,点击新增页面列表,其次点击名片组件搭建内容保存后,再回到编辑里去新增栏目,最后再把装修页面的栏目链接做跳转即可,如下图所示:






14、关于微名片二维码logo如需进行美化时的操作步骤:点击名片编辑进入基本资料,点击二维码美化器嵌入上传logo等即可;如下图所示:


15、关于选用行业名片当前模板后,需再切换成其他的模板的步骤:点击名片列表,找到操作下方,点击更多进行更换模板;如下图所示:


16、关于后期发现名片扫码到期了,如何去修改名片的到期时间步骤:点击名片列表选中该名片再设置到期时间即可,如下图所示

该图为:手机前端扫码后提示扫码到期界面





17、关于名片终端客户续费之后钱怎么自行收款到福牛账户上提现的步骤:首先找到系统设置,点击收款商户绑定,将已经申请好的福牛账号密码按照下图去绑定授权即可,如下图所示:

18、关于手机前端扫码名片后,右下角的注册小图标按钮如何设置步骤:首先找到基本资料,点击我的资料进去设置名片的收费模式,然后选择只允许付费购买就会有以下图标显示,如下图所示:


19、关于绑定名片主后进去手机端管理后台的步骤:首先找到名片管理,点击单个名片二维码,手机进行扫码后拉到最底部,点击进入名片管理中心,随后输入名片口令密码,界面提示加显示一个绑字就表示已经绑定成功;小程序二维码设置绑定的方式也是一样操作,同步的进入到手机端后台界面即可,如下图所示:




20、关于进入手机端工作台后的界面,包括常用的日签海报,生成名片码,我的名片(新闻管理,我的产品,财务管理,我的福袋)等;名片的基础信息都是可以在手机前端进行修改的,以及聊天等功能,绑定成为名片主之后就可在后台跟客户沟通。如下图所示:

在线客服

服务时间周一至周五 9:00-18:00
客服电话