活动宝PC端管理后台操作手册
活动宝是一个专业的活动平台,是线上线下活动营销利器,集活动管理、营销、裂变、蓄客、拓客、锁客、互动、落地为一体,轻松助力各行业精准社群裂变及私域流量快速导流,帮助合作伙伴低成本快速获取大量有效精准客户,丰富的功能设置,全面满足营销需求。活动宝适用于单店、联盟、连锁店、总代理、商场、厂家、执行方、培训会议等各类形式的活动均可!
活动宝的操作步骤如下所示:
第一步:登录智慧云码后台,找到已开通产品-活动宝,点击进入,如下图所示:

1、关于如何新增主办方,如下图所示:
新增主办方模块填写主办方的资料并提交,可以新建一个主办方。
说明:主办方头像为必填项。支持JPG/PNG,大小300*300PX,2M以内;
公司名称,负责人名称,身份证等加*号的都为必填项;
身份证号码必须符合规格。手机号码默认为该主办方的登录账号;
身份证图片要清晰,支持JPG/PNG,2M以内。
可建活动数指主办方下面能创建活动数量,同时可进行活动数
负责人手机号必须准确和正常使用,并能接收验证码
必填信息填写和确认好后,点击提交开通主办方账户。如下图所示:

关于主办方申请管理
主办方申请管理,可查看参与者申请成为主办方的列表,进行审核和查看详情等。如下图所示:

2、关于主办方管理设置,如下所示:
2.1这里就是后台已经创建的所有主办方账户。可以通过主办方名称,状态进行搜索。

2.2主办方登录地址:点击打开主办方资料位置,“登录”二维码,即可扫码凭主办方手机号和验证码登录,以及可以pc电脑端登录网址发送给商家,单独登录进行管理。如下所示:


2.3禁用和续期:续期可增加主办方的创建活动数和增加账户有效期;禁用即是停止该主办方的所有功能(谨慎操作) 。如下所示:


2.4管理:点击管理进入主办方工作台,查看主办方下创建的活动数,浏览数据,以及可以快速充值阅读营销奖励金,短信数量等。如下所示:
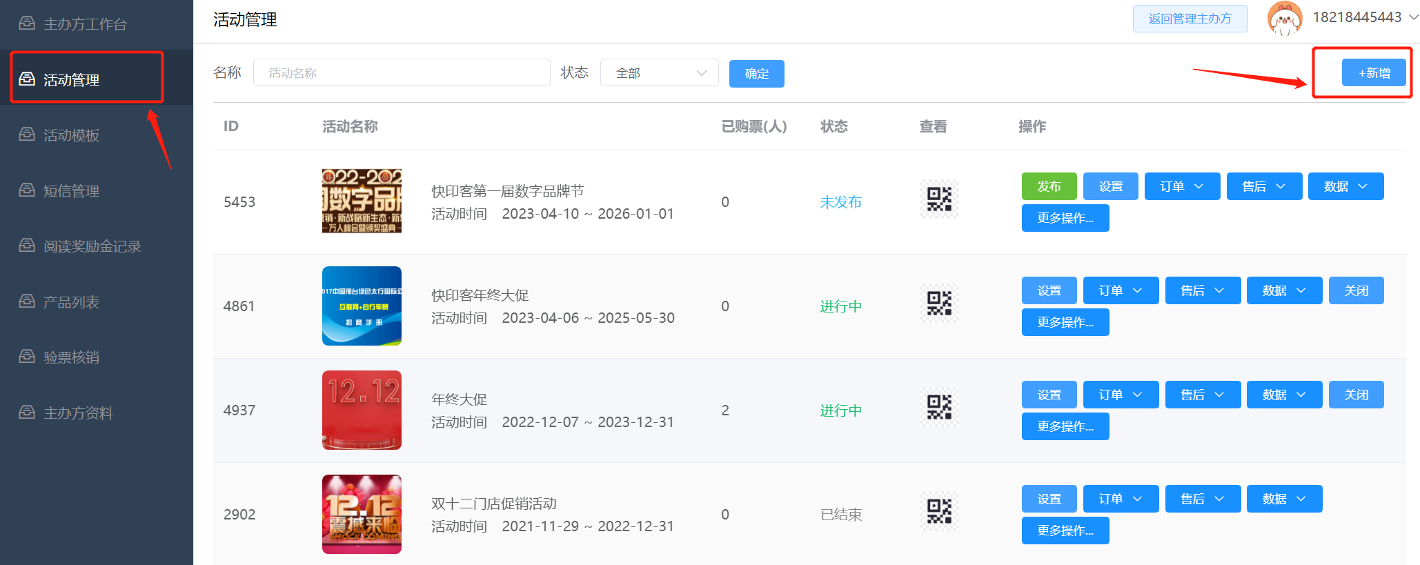
2.5 活动模板/活动管理:均可以在该主办方下面新增活动。根据当下活动实际情况选择现有模板或者创建空白模板,活动主题、活动时间、活动地址等如实填写,必填项必须完善(活动时间请确认好,一旦提交和发布该活动,时间不可修改)。如下所示:


2.6 活动管理:可查看活动宣传二维码、和进入设置该活动基本内容。最终活动设置好确定好后再点击发布!如下所示:

关于订单:点击后即可看到该活动下产生的爆款,拼团,门票,助力订单信息。可以查看订单客户付款时间、客户详情、订单状态。按时间段筛选订单,同时也可以表格形式导出订单。如下图所示:
关于爆款订单列表

关于门票订单列表

售后:可查看该活动改成的售后订单,包括退票和退款订单。可查看申请退款的用户、产品、原因和是否进行审核退款。如下图所示:

数据:即该活动下产生的活动数据,如浏览数据,核销数据。如下图所示:
关闭:点击关闭就是结束该活动。一旦关闭不可再次开启,请谨慎操作。如下提示所示:
更多操作:可查看评论管理,互动抽奖数据,佣金管理,复制活动,群发短信,以及查看参与者信息。如下所示:
评论管理:可以查看该活动下用户的评论,主办方可决定是否通过审核显示,或者针对不好的言论直接删除。如下所示:
群发短信:即通过报名购买门票的客户,自行选择给哪些客户发送短信群发通知活动。如下所示:

参与者:就是当活动没有设置任何门票类型购买,那么默认填写提交报名收集的数据。如下所示:
2.61设置:进入活动设置页面。包括基本信息,活动装修,营销工具设置。如下所示:
2.62 装修:进入设计活动首页,根据活动情况添加组件。分为基础组件和系统组件,基础组件可以重复添加和删除。每个组件可以进行相关样式和顺序调整。以及结合活动具体需求,增加各类组件完善,如下所示:

系统组件只允许添加一次,不允许重复添加。此处为系统组件添加后首页的样子,基于各类营销活动显示。如活动中包含爆款、拼团、门票、抽奖游戏,可以显示在首页;可以选择浏览记录,购买记录,佣金排行等显示出来吸引用户。组件可以进行上下移动调整组件位置,也可以删除组件,以及右边操作是编辑组件设置,包括标题,样式等。

控件设置可以设置“首页客服电话悬浮显示”“我的入口”,可以设置全局背景颜色、背景图;上传活动背景音乐(mp3格式)。如下所示:
排序:当前页面设计的顺序对应使用组件的名称,点击任意组件,可以修改名称,也可以编辑该组件的设置。如下所示:
注:每次编辑修改内容后,记得右上角点击保存
底部菜单:可以更改底部菜单显示样式,并设置立即参与指向的链接内容,可以选择默认,也可以自行根据需要调整。如下所示:
2.63 购票设置:如该活动涉及到门票类型购买,可在费用设置里添加实际的门票类型和费用(当不设置费用类型,则点击“报名参与”按钮,将使用系统表单,如:生日、婚礼等,不需要报名费用);报名字段则是提交购买门票时需要填写的信息设置,可按实际需求增加,以及设置是否为必填;报名Banner即上传一张展示图。如下所示:

2.64 分享信息:可以上传活动缩略图、设置分享标题和分享描述。当生成链接进行分享时,则会显示该分享内容。如下所示:

2.65推广海报:默认分享海报图,可自定义上传,按照要求上传分享海报(尺寸750x1334p支持jpg png格式、大小2M以内)以及设置海报上所展示信息。如是否显示昵称,头像。主标题,副标题自行设置,活动时间根据该活动实际的启动时间显示。设置后右上角记得保存当前数据,手机端浏览可生成海报进行分享。如下所示:

关于营销工具
2.66 阅读营销奖励金:可根据活动需要进行充值和开启设置(主办方充值),充值和开启后,用户登录浏览活动即可获取对应金额的阅读奖励金
特别注意:
充值金额只能为100的倍数,最低充值100.00元,单笔最高10000.00元
当前手续费费率为:2%;该费用为微信收取,本平台未收取任何费用。
奖励金设置有随机奖励和固定奖励,随机奖励即在最低和最高金额区间中随机产生;固定奖励即每人每次都是固定的奖励金。如下所示:
2.67 佣金营销:开启后根据活动实际情况,设置佣金分成规则,此为佣金比例,只有以下3种方式可以获得:邀请报名成功即是分享购买门票;抢购下单即是爆款抢购营销产品;拼团下单即是团购营销产品分佣。如下所示:
2.68 互动抽奖营销:可根据活动需要,创建互动抽奖游戏,包括活动抽奖类型、抽奖条件设置、奖品类型设置。奖品名次最多可设置六等奖。如下所示:


游戏提交保存后,开始设置奖项名称和奖品数量,每个奖项添加的设置流程是一样的。如下所示:
当该抽奖游戏设置检查好,即可启动使用。
中奖记录:即该抽奖游戏中中奖人员信息,可查看是否兑奖状态,并导出表格数据。如下所示:

2.69 爆款抢购营销:根据活动需要发布爆款抢购产品,即秒杀产品。可以新发布,或者原先有产品库上传过直接选择产品库的产品上架。带*号为必填。可设置产品介绍、原价、抢购价、产品分佣比例。直接单个发布新爆款产品,也可点击产品库先在产品库新增产品,再选择使用。如下所示:


2.691 团购营销:全局设置:根据活动需要上线团购产品,及设置最低成团人数和组团时间(活动发布后不可变更)。如下所示:

团购产品管理:可新发布拼团产品,设置产品介绍、原价、拼团价、产品分佣比例。直接单个发布团购产品,也可点击产品库先在产品库新增产品,再选择使用。如下所示:


2.692裂变助力:通过设置助力产品,引导用户购买后做分享裂变,同时根据设置的活动要求,分享解锁,通过邀请解锁或者下单解锁,对应可以获得奖励。如下所示:



2.7短信管理:此处不是指的用户下单接收短信提醒
(用户购买门票/爆款/拼团产品,主办方会收到短信通知,短信由总部免费提供发送,不需要另外充值)
此处短信管理是主办方可以购买短信条数,用于短信群发通知参加活动的用户(即购买门票用户),购买短信条数可以根据需要自定义数量,如下图所示:

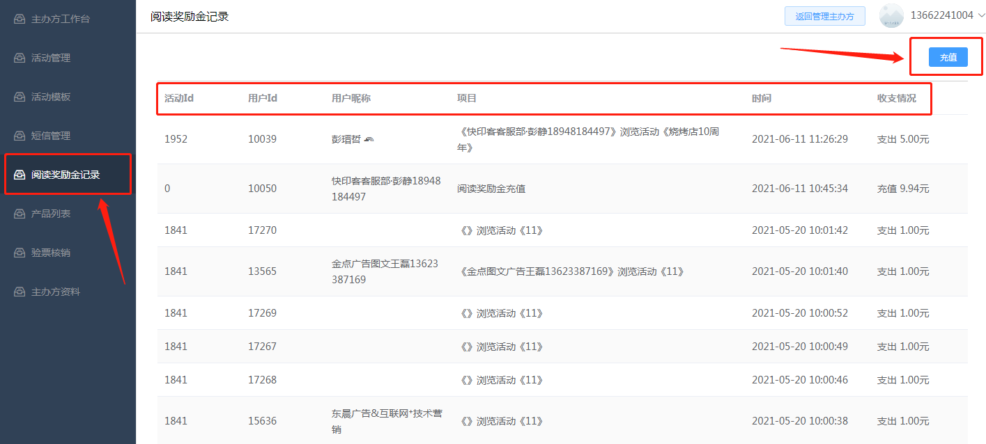
2.8阅读营销奖励金:此处为该活动下,阅读营销奖励金收入和支出领取的记录。同时可以在此处进行充值。如下所示:

2.9产品列表:可在此处自行新增产品,此处为产品库。可自行设置修改产品信息,库存、价格、规格属性等。或者删除操作。另在添加爆款/团购产品时,也可以直接选择产品库里的商品使用。如下所示:

2.10 验票核销:当用户下单后,到店可通过用户下单后手机上的核销串码输入进行核销(根据购买产品类型,如爆款/拼团/门票,在手机端对应订单位置找到)商家在电脑端该位置可以选择商品,或者门票,输入核销串码点击进行核销。如下所示:

2.11: 主办方资料:可以修改更新主办方头像,名称,电话等,另设置核销密码,即用户自提订单到店核销商家输入的密码;订单完成天数最小15天,也就是默认自动确认收货周期。如下所示: