智慧防伪溯源2.0帮助指引
一、关于防伪溯源系统功能介绍
基于一物一码为企业定制各类解决方案,实现从原材料-生产投料-生产包装-仓储物流-市场等各环节全过程追溯和管理,为企业实现数字化、智能化的管理。
亮点功能如下所示:
1.扫码验证,防伪码批量生成,可灵活性定义使用对接自己的规则体、前缀自定义、长度、格式自定义
2.防伪红包、批量一键生成红包·定位领取人所在位置
3.加持防伪功能;未领取的防伪码为正品防窜货、防假冒、防伪查询结果语音播报查询后可在微信平台自动语音播报查询结果,语音播报内容可自定义设置
二、关于进入后台界面的具体操作设置步骤
第一步:进入防伪溯源管理
1、首先登陆智慧云码管理后台,点击已开通产品,找到智慧防伪溯源,点击进入管理,如下图所示:
第二步:产品管理
首先,创建溯源产品,需要在系统中新增产品的类别,规格,品牌和经销商之后,再进行产品的添加,步骤如下:
1.产品类别设置中,点击【添加产品类别】。输入分类名称,图片等字段,点击【保存】按钮,提交后成功创建新的产品类别。

2.产品规格模型中,点击【添加规格模型】。输入参数名称等字段,点击【保存】按钮,提交后成功创建产品规格。

3.产品品牌设置中,点击【添加品牌】。输入品牌名称等字段,点击【保存】按钮,提交后成功创建新的产品品牌。

4.经销商设置中,点击【添加经销商】。输入供应商名称等字段,点击【保存】按钮,提交后成功创建经销商。

5.在产品管理页面,点击【添加产品】。输入产品名称,图片,内容等,保存提交后,即新建了一条产品数据。

第三步:批量创建防伪溯源码
方式一:
1.点击防伪码中的批量生成防伪码。
2.输入防伪码前缀,长度,生成数量,所属产品,经销商,状态,保存提交即可。
方式二:批量导入防伪码(自定义编辑防伪溯源码编号、条形码)
点击【上传文件】,选择文件后,【确认导入】即可。
注:防伪码前缀(如无需要可不填写(长度为0-4位数字或字母)+防伪码长度(不包含防伪码前缀长度,建议长度为15-20位),防伪码格式(前缀+数字和字母/前缀+字母/前缀+数字)
其他:
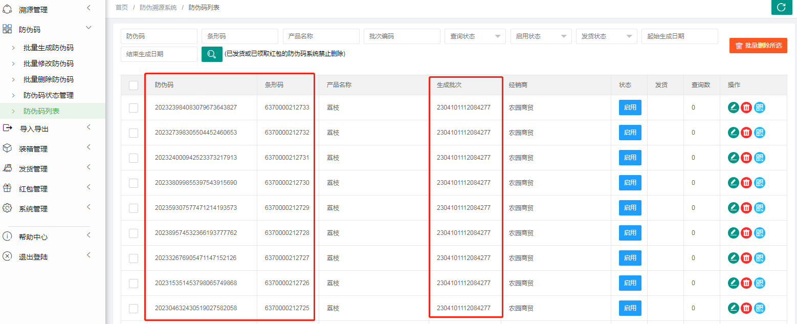
点击防伪码列表,可以搜索,修改,删除,查看防伪码。
点击产品的条形码,可以展示当前商品的条码图(如下图所示)。
点击二维码图标,可以展示当前商品的二维码。微信扫码后,可以查看该商品的防伪码,商品名称,经销商,生产批号,日期。客户可以在商品上留言,进行问题反馈。



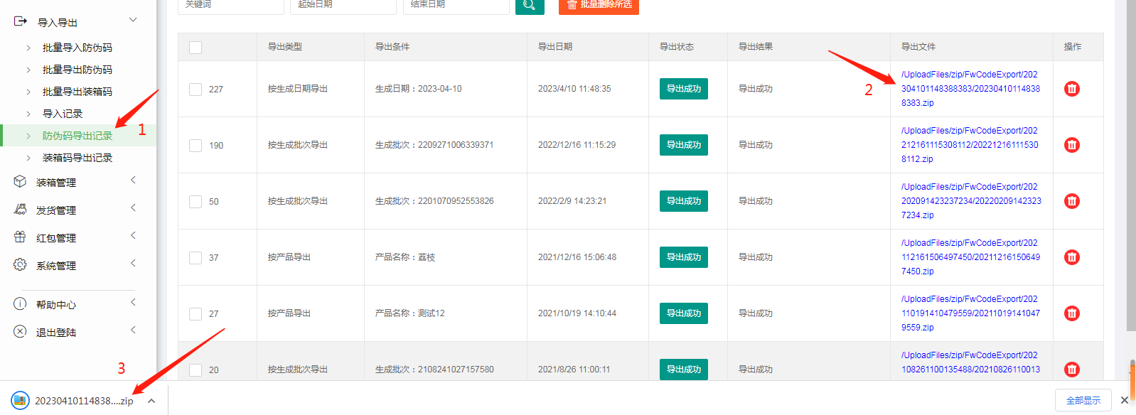
第四步:关于如何批量导出防伪码?如下所示:
1.点击批量导出防伪码。
2.例如按产品ID导出,选择任一产品,【确认选择】后,点【确认导出】即可。



关于防伪码状态管理怎么使用?
1.点击防伪码中的防伪码状态管理。
2.选择启用或者禁用。例如选择某一产品,点【确定】按钮,可以对防伪码进行状态的启用和禁用。
第五步:关于红包账户管理
①使用红包首先要给账户充值。
1.点击【充值】按钮。
2.扫描弹出的二维码进行支付。
3.充值成功后,查看账户余额和已经成功充值的金额。已发出的红包会显示在支出总额中。

②红包生成怎么使用?
1.点击红包生成。
2.选择指定的生成条件。例如:按产品名称指定。选择产品后,填写要发放的红包金额。
3.在红包列表中,就可以生成对应产品的红包记录,用户扫码该产品,即可领取红包。

③红包列表
1.可查看产品的红包生成明细,红包金额,用户领取时间等。
2.在防伪码列表中,扫码二维码,手机端可以领取到红包,用户领取的红包可以直接到账微信零钱。

红包领取明细主要是用来展示领取红包的用户详细信息。包括用户姓名,领取时间,具体地理位置等。
第六步:装箱管理
产品装箱的包装码。他的作用主要是用来给产品上的包装赋码。支持单个装箱/大箱装小箱
1.点击包装码管理。
2.点击【添加包装码】按钮,输入防伪码前缀,长度,数量等,保存后,即可生产一批包装码。
3.成功创建一批包装码,可以根据包装码,条形码,生产批次,创建时间,和发货状态等条件进行搜索。
4.点击条形码区域,和生成二维码,显示的是商品的条形码和生成的二维码。如图。
5.点击删除小图标或者点击【批量删除所选】,可以删除包装码。



关于单个装箱怎么操作?如下所示:
1.点击单个装箱。输入产品条形码。外箱条码。外箱条码主要是通过扫描或者录入的。
2.点击【保存】提交。即完成单个装箱操作。也可以模板批量导入。支持xls、xlsx、cvs、txt,一行一个条码。

关于大箱装小箱怎么操作?具体如下所示:
1.点击大箱装小箱。输入产品条形码。外箱条码。外箱条码主要是通过扫描或者录入的。
2.点击【保存】提交。及完成大箱装小箱操作。也可以模板批量导入。支持xls、xlsx、cvs、txt,一行一个条码。

关于装箱记录怎么使用?具体如下所示:
装修记录用来查看已经装修的记录。包括外箱条码,内箱条码,装箱数量和装箱时间。点击红色删除小图标,可以删除装箱记录。

第七步:发货管理
关于单个发货怎么使用?具体如下所示:
1.点击单个发货。输入产品条形码。经销商。
2.点击【保存】即完成单个发货。也可以模板批量导入。支持xls、xlsx、cvs、txt,一行一个条码。

关于整箱发货怎么使用?具体如下所示:
1.点击整箱发货。输入产品条形码。经销商。
2.点击【保存】即可完成整箱发货。也可以模板批量导入。支持xls、xlsx、cvs、txt,一行一个条码。

关于发货记录怎么使用?具体如下所示:
发货记录查看的是产品单个或者整箱发货的具体记录。可以搜索,删除,查看发货信息。
关于取消单个发货怎么使用?具体如下所示:
1.点击取消单个发货。输入产品条形码。
2.点击【保存】即可取消发货。也可以模板批量导入。支持xls、xlsx、cvs、txt,一行一个条码。

关于取消整箱发货怎么使用?具体如下所示:
1.点击取消整箱发货。输入产品条形码。
2.点击【保存】即可取消发货。也可以模板批量导入。支持xls、xlsx、cvs、txt,一行一个条码。

关于如何批量导出装码箱?具体如下所示:
1.点击批量导出装箱码。
2.例如按生成日期导出,勾选需要导出的内容,可以导出当前日期下的装箱码数据。

第八步:关于追溯管理,具体如下所示:
1.添加追溯流程设置,在追溯流程设置中,点击【添加新流程】。输入流程名称等必填项,保存。

2.流程追溯中添加产品的溯源信息。如:所属产品,批次,前台展示方式,流程简介等。

3.在溯源信息列表,可以管理流程追溯添加的内容。搜索,修改,单个删除,批量删除溯源信息。

第九步:系统设置
系统设置用来自定义配置防伪溯源系统。如红包发送人,电话,地址,系统名称和LOGO图标等。
其他:
关于反馈记录怎么使用?具体如下所示:
反馈记录可以查看用户扫码产品提交的反馈意见。详细列出扫码产品后,用户反馈的内容,反馈时间,反馈人员信息等。

关于查询记录怎么使用?具体如下所示:
查询记录可以查看已经扫码查询的用户信息,包括用户的IP地址,省份市区,具体地址定位等。

关于查询统计怎么使用?具体如下所示:
查询统计主要是用来做图表统计的。统计查询次数和全国查询的统计分布图。

关于系统操作日志怎么使用?具体如下所示:
系统操作日志显示的是现在和曾经登录过的用户对系统进行的各类操作行为。如图所示: