客服电话:4006-110-166
您好!欢迎您来访,请 登录注册
请问需要什么帮助?

智慧云码系统介绍(视频)

智慧云码系统后台操作(图文)

智慧云码系统后台操作(视频)

行业码(图文)

 

为扩展智慧云码市场应用范围,通过“二维码+移动互联网+云”技术,助力各行各业管理者实现人员管控、项目管理、设备维护、施工流程管理等信息化改造,达到信息共享、规范流程、提高施工效率和加强管理的目的。

行业码可进行高度的自由组合,可DIY实现产品展示网站、微信小程序(简)、项目管理系统(简)等。

行业码主要的模块有:标题、头部信息、图集、图文、记录模块、参数文本、网址导航、联系信息、分类、文件、视频、音频、加微信、底部菜单、模块添加

行业码需要先创建项目,而后在项目的基础上添加行业内容。

行业码的应用场景主要有:旅游风景介绍、游乐场、汽配城、建筑建材行业、产业园,社区 ......

【行业码为额外付费开通功能,若需要开通使用,请联系快印客客服中心以及对应客服老师均可。客服热线:4006110166 客服QQ:4006110166】

具体操作步骤如下所示:

第一步:登录智慧云码系统后台,找到左侧第二个栏目:二维码常用工具,点击行业码,点击添加,如下图所示:

第二步:行业码名称按实际情况填写;二维码方案必须要勾选的是图文记录,产品码和证件码可酌情勾;有效日期按实际情况选择;状态选择启用;描述则是整个行业码做一个简介说明,便于后期通过描述可大概了解内容。填写完毕后,点击提交,如下图所示:

 

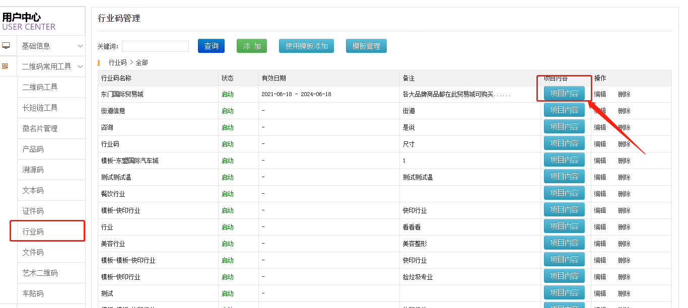
第三步:点击提交后,跳转到行业码列表,需要点击项目内容,在出来的界面处点击添加图文记录去填写具体内容,如下图所示:

 

 

第四步:在自定义编辑界面,需要根据具体需求进行组合完善相关资料。公司名称按实际情况填写;简介处详细添加该企业的信息即可;LOGO建议尺寸为300*300px,格式为JPG/PNG;背景图建议尺寸为720*400px,格式为JPG/PNG。填写完毕后,点击保存。如下图所示:

 

第五步:图集、图文、网址导航、联系信息模块,按实际情况填写即可,若不需要某个板块,可隐藏或删除。如下图所示:

 

第六步:针对记录模块,若不需要,可直接隐藏。若需要启用该模块,有一个硬性要求:当前的智慧云码系统必须已成功绑定高级认证的服务号,若还没绑定,请联系客服处理。

 

维护标题按实际情况填写,如汽车城消防检查;查看权限可以按自身需求选择所有人可见、仅维护人可见或不可见(建议选择仅维护人可见);申请人权限要打勾开放申请,因为并不是所有人都是消防检查人员,必须要指定到某些人,记录的信息才更具可靠安全性;文档模板需要添加添加文档,具体内容按实际需求填写,如消防栓检查、灭火器检查或消防通道检查等等。信息填写完毕后,点击保存。如下图所示:

 

第七步:如果除了上述模块外,还需要再增加某个模块,可直接在底部菜单中选择,选择后把图标拖拉到相应位置即可,如下图所示:

 

 

第八步:底部菜单,可根据实际情况添加,最多添加4个,点编辑可链接跳转 

步:内容添加完毕后,可直接点击行业码栏目,点击项目内容,进入图文记录页面,直接点击行业码名称进行修改或直接点击二维码扫码体验,若需要再次修改行业码内容,可直接点击编辑。另外新增产品码和证件码功能可快速抵达后台对应位置去搭建使用(图2),如下图所示:

在线客服

服务时间周一至周五 9:00-18:00
客服电话