码上印商户管理操作指南
一:什么是码上印商户管理:
码上印商户管理是基于主系统账号所开立的子账号,便于加盟商给终端客户设定独立的后台管理账号,且不与主系统账号信息互动,便于终端客户管理随时修改、监测、查看后台数据等。子账户的系统功能开放,可以根据终端客户的不同级别来开放不同系统工具的权限。码上印管理添加账号之后,实际上是给自己的客户(商家)开通一套独立的智慧云码微营销系统,它含有智慧云码微营销系统标配的功能,比如微名片、邀请函、魔术贴、微信营销活动等等,如果绑定了微信公众号微信支付接口配置,也可以进行商城下单购买收款等。
【注:码上印管理为额外付费开通功能,若您合作方案里未包括在内,则需要单独开通使用,请联系快印客客服中心。客服热线:4006110166 客服QQ:4006110166】
二:关于码上印商户管理具体设置步骤流程,如下所示:
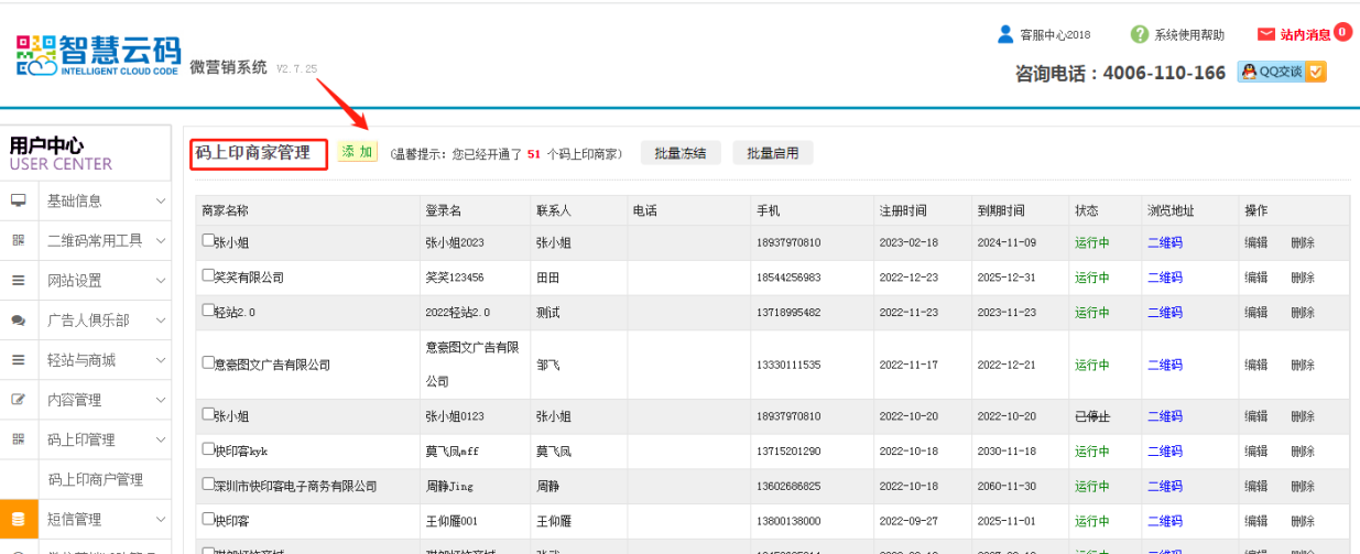
- 首先登陆智慧云码进入管理,点击左侧码上印管理栏目,点击码上印商户管理,点击添加,如下图所示:

2、点击码上印商家管理添加按钮后,便会出来以下对应界面:包含公司名称、用户名、注册邮箱、密码、确认密码、联系人、性别、QQ号码、微信号码、手机号码、固定电话等信息,可自身根据实际情况对应填写即可;红色*号为必填项,其他信息可选填或不填写;权限设置则是给该子账户设置可拥有的系统工具/功能权限,如实按自身情况对应全选或是部分功能勾选即可;如下图所示:


温馨提示1:基于有关部门的信息监管需求,系统自助开通的账号需经过公司总部进行初步审核之后方可使用,请各合作伙伴,支持理解。
温馨提示2:该子账户的最大日期到期时间是基于主系统的最大日期有效时间内进行设置的,举例:如果需要给您客户只开通一年的有效期,那么,时间范围即选择一年(注:想要子账户不过期,前提是主系统不要过期)
温馨提示3:码上印浏览地址不等于轻站二维码与其他功能二维码,如需要搭建功能二维码印刷,请找到合适工具搭建并下载二维码使用。
- 以上步骤均已设置添加好码上印账号后,您需要将设置好的用户登录名提供给快印客客服进行审核(客服热线:4006110166 客服QQ:4006110166),审核通过后即可登陆使用,登陆地址:https://www.165183.com/,如下图所示:


图为:添加好后未审核该账号的情况(未审核便无法登陆使用)

图2为:联系客服老师已审核后的界面状态(可正常登陆使用了)